back to list

104554
10
12,9
14
10,5
22
42
27
13
0,031
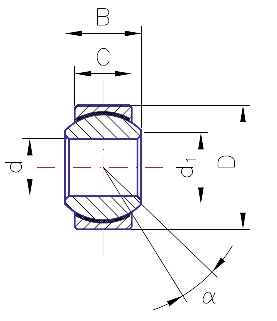
G-410: Spherical plain bearings dimension series K, maintenance free
Dimension series K
Standard
Spherical plain bearings
Maintenance free steel/PTFE
metric
104554
Inner ring: Antifriction bearing steel, hardened, ground and polished, sliding face hard chromium plated
Outer ring: Stainless steel, lined with an antifriction film consisting of PTFE with metal fabric
Bearing clearance: Reduced bearing clearance
back to list